閥門定位器系列
您現在的位置: 上海自動化儀表股份有限公司 > 產品導航 > 調節閥 > 閥門定位器
閥門定位器
產品說明:閥門定位器概述:8200型電一氣閥門定位器是與氣動調節閥配套使用的儀表,系我廠引進美國Masoneilan公司的產品。它接受電動調節儀表輸出4-20mA的直流電流信號后輸出一定的氣壓信
質量穩定:實行全過程質量監控,細致入微,全方位檢測!
真品保證:正品保障,防偽標志
交貨快捷:先進生產流水線,充足的備貨,縮短了交貨期!
全國咨詢熱線:
021-56725115
產品說明
閥門定位器概述:
8200型電一氣閥門定位器是與氣動調節閥配套使用的儀表,系我廠引進美國Masoneilan公司的產品。它接受電動調節儀表輸出4-20mA的直流電流信號后輸出一定的氣壓信號控制調節閥的行程,并通過反饋系統使該行程與電流信號成比例變化,從而保證閥門正確定位。
8200型電一氣閥門定位器根據爆炸危險場所電氣安全規程的規定,按GB3836“爆炸性環境用防爆電氣設備”標準的要求,設計成本質安全型(防爆標志為is日CT6)和隔爆型(防爆標志為dII日BT4),分別適用于0區、1區和2區爆炸性環境。
8200型電一氣閥門定位器按結構分為杠桿式和凸輪式兩大類,分別配用直行程氣動薄膜式執行機構、F「氣動執行機構和35002型偏心旋轉閥等,可以克服閥桿的摩擦力,消除調節閥的不平衡力影響,提高閥的動作速度、位移精度和實現分程控制,因此廣泛應用于石油、化工、冶金、電站和輕紡等工業部門的自動控制系統中。
一、主要技術參數和性能
1.產品企業標準代號:Q八XBM805
2.閥門定位器技術參數
|
輸入信號(Ma.DC)
|
標準信號:4~20
|
|
分程信號:4~12;12~20
|
|
|
輸入阻抗
|
250±25Ω
|
|
絕緣電阻
|
³100MΩ
|
|
輸出作用方式
|
單作用
|
|
輸出特性
|
直線、等百分比
|
|
配用執行機構
行程范圍
|
6mm~100mm9(直行程)
|
|
36。、50。、75。
|
|
|
重量(kg)
|
2.5
|
|
|
|
3.閥門定位器主要性能指標
|
項目
|
技術指標
|
|
基本誤差
|
±1.0%(杠桿式)
|
|
|
±1.5%(杠桿式)
|
|
回差
|
1.0%(杠桿式)
|
|
|
1.5%(杠桿式)
|
|
死區
|
0.2%
|
|
耗氣量
|
500L/h(標準狀態下,氣源壓力為0.14MPa時)
|
4.閥門定位器接口環境要求
|
氣管接口
|
4/1MPT
|
|
電氣接口
|
M20×1.5(或G2/1、2/1NPT)
|
|
環境溫度
|
-30℃~+70℃(標準型)
-50℃~+60℃(低溫型)
0℃~+100℃(高溫型)
|
二、閥門定位器防爆型式和適用范圍
8200型電,氣閥門定位器的防爆型式有兩種:隔爆型和本質安全型,屬于工廠用的日類電氣儀表。
隔爆型定位器的爆炸性氣體混合物最大試驗安全間隙為B級,允許的最高表面溫度為1350C,即溫度組別T4,適用于日A, II B, T1-T4組別的1區與2區氣體爆炸危險場所。
本質安全型定位器的爆炸性氣體混合物最小點燃能量為19pJ,允許的最高表面溫度為850C,即溫度組別T6,適用于“A,“B,日C, T1-T6組別的0區、1區與2區所有氣體爆炸危險場所。
本質安全型定位器配用本質安全型關聯設備LB928, LB828型、Z728型、MTL728型等齊納式安全柵或KFD-CD-EX 1.32型隔離柵后,經國家級儀器儀表防爆安全監督檢驗站聯合取證,可以達到本質安全防爆要求。
本質安全型定位器的外接導線或電纜允許分布電容CP值參見安全柵使用說明書,允許分布電感
LP≤lmH。
三、產品型號及編制說明
8200型電一氣閥門定位器按防爆型式、作用方式、反饋形式等可分為不同型式的產品其型號如下:

注:★若用于溫度組別T6場合時,最高環境溫度不得超過+600C;
▲需特殊訂貨。
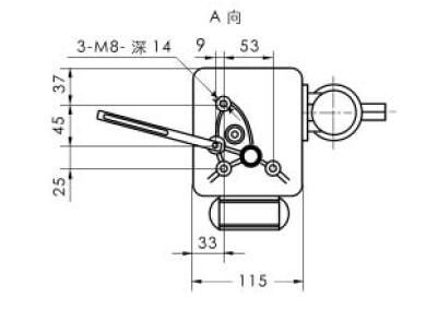
四、閥門定位器外形尺寸及安裝方法
1.外形尺寸
▲杠桿式定位器(見圖一,單位:mm)

▲凸輪式定位器{見圖二,單位:mm)


2.閥門定位器安裝方法
▲杠桿式定位器與直行程氣動薄膜執行機構的安裝(見圖三)


